鸣志电器公布国际专利申请:“双圆弧齿形的优化设计方法及具有该齿形的谐波减速器”

小微 2025年10月18日 阅读:46996

鸣志电器公布国际专利申请:“双圆弧齿形的优化设计方法及具有该齿形的谐波减速器”
图片来源于网络,如有侵权,请联系删除

证券之星消息,根据企查查数据显示鸣志电器(603728)公布了一项国际专利申请,专利名为“双圆弧齿形的优化设计方法及具有该齿形的谐波减速器”,专利申请号为PCT/CN2024/090248,国际公布日为2025年10月16日。

专利详情如下:

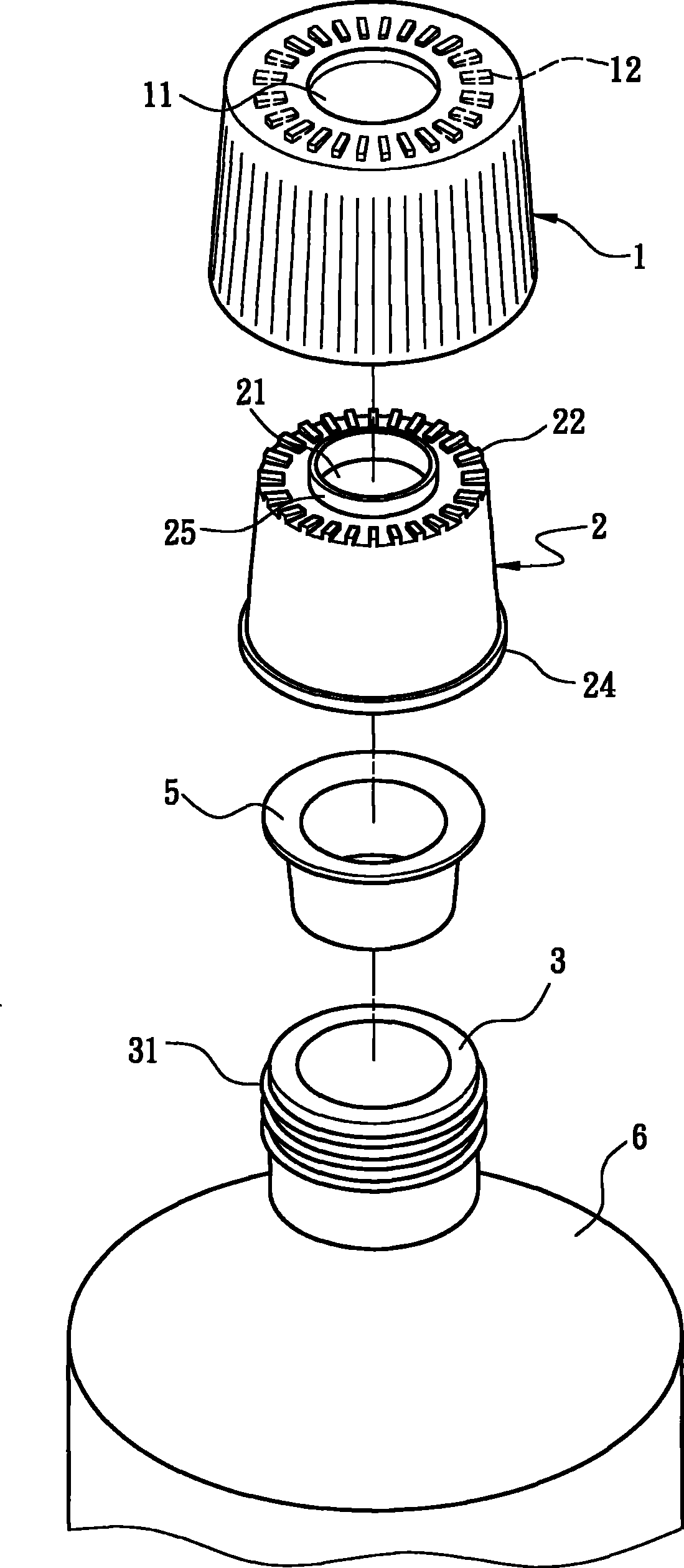
鸣志电器公布国际专利申请:“双圆弧齿形的优化设计方法及具有该齿形的谐波减速器”
图片来源于网络,如有侵权,请联系删除

图片来源:世界知识产权组织(WIPO)

今年以来鸣志电器已公布的国际专利申请1个。结合公司2025年中报财务数据,今年上半年公司在研发方面投入了1.25亿元,同比增4.92%。

数据来源:企查查

以上内容为证券之星据公开信息整理,由AI算法生成(网信算备310104345710301240019号),不构成投资建议。

热门文章
  • 帅丰电器获得实用新型专利授权:“一种防溢出的集油盒”

    帅丰电器获得实用新型专利授权:“一种防溢出的集油盒”
    图片来源于网络,如有侵权,请联系删除证券之星消息,根据天眼查APP数据显示帅丰电器(605336)新获得一项实用新型专利授权,专利名为“一种防溢出的集油盒”,专利申请号为CN202420309334.6,授权日为2024年11月22日。 专利摘要:本实用新型公开了一种防溢出的集油盒,涉及油烟机技术领域。目前,集油盒内油污容易因为不能观察,而出现溢出情况。本实用新型包括集油盒本体,集油盒本体内腔设有隔板,隔板将集油盒本体内腔分为上层及下层,上层内通过圆杆固定连接有防溢浮球阀...
  • 华英农业股东户数环比下降6.49% 今日大涨10.04%

    华英农业股东户数环比下降6.49% 今日大涨10.04%
    图片来源于网络,如有侵权,请联系删除(原标题:华英农业股东户数环比下降6.49% 今日大涨10.04%) 华英农业11月26日在交易所互动平台中披露,截至11月20日公司股东户数为40533户,较上期(11月10日)减少2814户,环比降幅为6.49%。这已是该公司股东户数连续第2期下降。图片来源于网络,如有侵权,请联系删除 证券时报•数据宝统计,截至发稿,华英农业收盘价为2.63元,上涨10.04%,本期筹码集中以来股价累计上涨10.50%。具体到各交易日,5次上涨,7...
  • 网红经济概念涨2.84%,主力资金净流入这些股

    网红经济概念涨2.84%,主力资金净流入这些股
    图片来源于网络,如有侵权,请联系删除(原标题:网红经济概念涨2.84%,主力资金净流入这些股) 截至11月25日收盘,网红经济概念上涨2.84%,位居概念板块涨幅第10,板块内,76股上涨,锦泓集团、跨境通、二六三等涨停,太湖雪、百纳千成、蓝色光标等涨幅居前,分别上涨15.55%、15.01%、8.97%。跌幅居前的有海宁皮城、凯淳股份、青岛金王等,分别下跌10.00%、8.17%、6.72%。图片来源于网络,如有侵权,请联系删除 今日涨跌幅居前的概念板块...
  • 创业板指半日大涨3.83%,大金融、大消费概念股集体爆发!A50直线拉升涨超2%

    创业板指半日大涨3.83%,大金融、大消费概念股集体爆发!A50直线拉升涨超2%
    图片来源于网络,如有侵权,请联系删除11月29日,A股市场早盘集体上涨,其中创业板指领涨,沪深两市半日成交额达9718亿。沪指、深成指、创业板指分别上涨1.59%、2.41%、3.83%。大金融股和大消费股表现尤为活跃,锦龙股份、国盛金控等多股涨停,同花顺创历史新高。富时中国A50指数期货、香港恒生科技指数也大幅上涨。...
  • [路演]巨人网络:围绕“征途”和“球球”两个旗舰IP做长远战略计划

    [路演]巨人网络:围绕“征途”和“球球”两个旗舰IP做长远战略计划
    图片来源于网络,如有侵权,请联系删除(原标题:[路演]巨人网络:围绕“征途”和“球球”两个旗舰IP做长远战略计划) 齐“投”共进,“渝”见未来――重庆辖区2024年投资者网上集体接待日11月28日在全景网举办。巨人网络(002558)董事会秘书孟玮介绍,公司一贯重视成熟产品的稳定经营,不断巩固最核心且擅长的国战MMORPG及多人休闲竞技赛道,通过版本内容推陈出新和运营精细化,提升“征途”以及“球球大作战”两大IP的潜力;公司还围绕“征途”和“球球”两个旗舰IP做长远战略计划...