
图片来源于网络,如有侵权,请联系删除
证券之星消息,根据天眼查APP数据显示长城汽车(601633)新获得一项实用新型专利授权,专利名为“排气净化装置、排气系统及车辆”,专利申请号为CN202423308863.3,授权日为2025年10月24日。
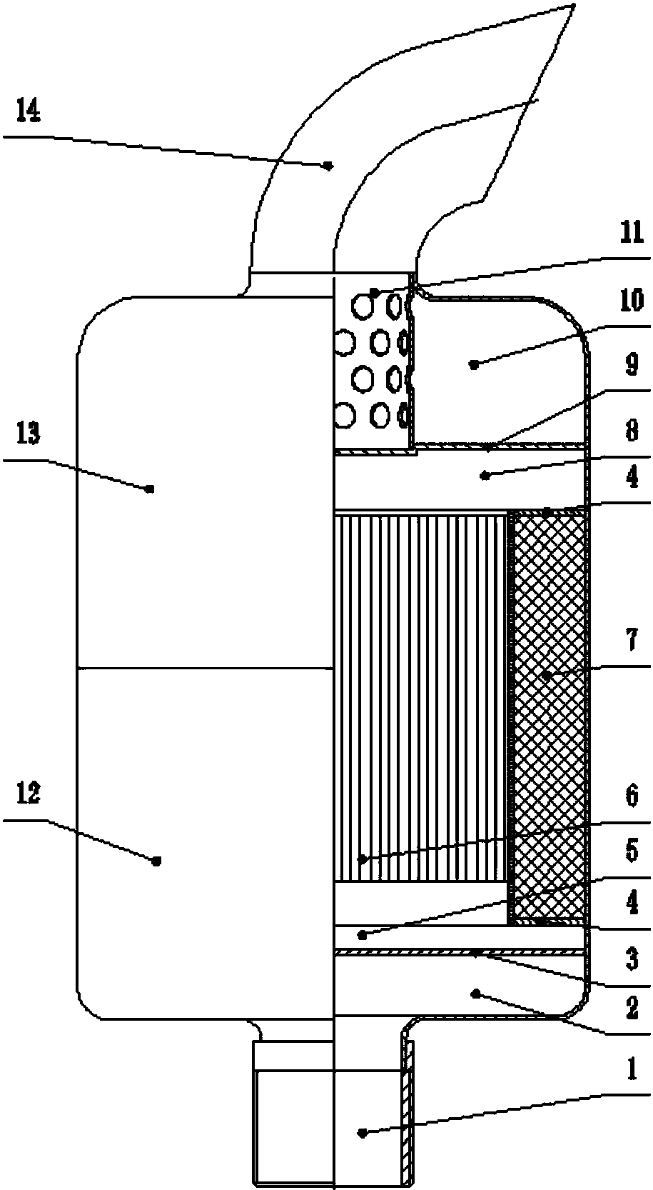
专利摘要:本申请提供了一种排气净化装置、排气系统及车辆。排气净化装置包括:壳体,壳体设有进气端和排气端,壳体的内部设置有相互连通的气体混合腔和气体处理腔,气体混合腔位于气体处理腔与进气端之间;净化组件,净化组件设于气体处理腔;挡板,挡板设置于气体混合腔,挡板设置有第一通气孔和第二通气孔,第一通气孔的面积大于第二通气孔的面积;挡板配置为使进入壳体的第一部分气流直接流过第一通气孔,以及对进入壳体的第二部分气流进行阻挡,以使第二部分气流的流速降低后流过第二通气孔。挡板可以提高废气的流速均匀性,这使得排气净化装置无需安装进气端锥,可以减小排气净化装置所需的空间,由此可以解决排气净化装置难以布置的问题。
今年以来长城汽车新获得专利授权2177个,较去年同期增加了53.2%。结合公司2025年中报财务数据,今年上半年公司在研发方面投入了42.39亿元,同比增1.12%。
通过天眼查大数据分析,长城汽车股份有限公司共对外投资了74家企业,参与招投标项目2667次;财产线索方面有商标信息6810条,专利信息25030条,著作权信息195条;此外企业还拥有行政许可640个。
数据来源:天眼查APP
以上内容为证券之星据公开信息整理,由AI算法生成(网信算备310104345710301240019号),不构成投资建议。
