-
蓝思科技董事会监事会延期换届 董事长周群飞2023年年薪500万元
图片来源于网络,如有侵权,请联系删除(原标题:蓝思科技董事会监事会延期换届 董事长周群飞2023年年薪500万元) 中国网财经7月9日讯(记者 刘小菲) 蓝思科技昨日晚间发布公告称,为确保董事会、监事会工作的连续性及稳定性,公司董事会、监事会将延期换届,董事会各专门委员会及公司高级管理人员的任期亦相应顺延。 2023年年报显示,报告期内,公司董监高人员共计17人,共支付报酬1547.5万元。其中董事长是周群飞,从公司获得的报酬总额500万元;副董事长郑俊龙从公司获得的报酬...
作者:小微 日期:2024年07月09日 52637 -
上海汽配: 公司没有参加2023年的进博会。2023年度,公司外销收入占比为29.31%
图片来源于网络,如有侵权,请联系删除证券之星消息,上海汽配(603107)07月09日在投资者关系平台上答复投资者关心的问题。 投资者:董秘您好,麻烦回答一下投资者提问!图片来源于网络,如有侵权,请联系删除 上海汽配董秘:尊敬的投资者您好,感谢对公司的关注。 投资者:请问贵司是不是没有董事会秘书?难道不知道上市规则吗?为什么不回答股东问题! 上海汽配董秘:尊敬的投资者您好,感谢对公司的关注。 投资者:请问公司产品有什么优势,在全国是否能占据头部地位 上海汽配董秘:...
作者:小微 日期:2024年07月09日 46657 -
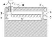
高测股份获得实用新型专利授权:“断线防波及装置”
图片来源于网络,如有侵权,请联系删除证券之星消息,根据企查查数据显示高测股份(688556)新获得一项实用新型专利授权,专利名为“断线防波及装置”,专利申请号为CN202323049614.2,授权日为2024年7月9日。 专利摘要:本实用新型公开了一种断线防波及装置,包括基部、扣合部和底座,底座与基部相连接,扣合部可拆卸地扣设在基部上,扣合部上设置有多个间隔挡片,多个间隔挡片可在基部与扣合部之间分隔出多个间隔空间。本实用新型能够对发生断线后的断线线头进行轨迹约束,有效降低...
作者:小微 日期:2024年07月09日 43999 -
顾家家居获得实用新型专利授权:“一种排气消音结构及座椅”
图片来源于网络,如有侵权,请联系删除证券之星消息,根据企查查数据显示顾家家居(603816)新获得一项实用新型专利授权,专利名为“一种排气消音结构及座椅”,专利申请号为CN202322962180.9,授权日为2024年7月9日。 专利摘要:本申请公开了一种排气消音结构及座椅,涉及家具用品的技术领域,包括底板、设置于底板上的软包组件、设置于底板上的排气孔,底板设置有呈相互叠加布置的若干个透气层,所述透气层设置有若干个通孔,相邻的两个透气层上的通孔的孔径大小不相同。本申请解决...
作者:小微 日期:2024年07月09日 48432 -
天合光能获得实用新型专利授权:“坩埚”
图片来源于网络,如有侵权,请联系删除证券之星消息,根据企查查数据显示天合光能(688599)新获得一项实用新型专利授权,专利名为“坩埚”,专利申请号为CN202320258366.3,授权日为2024年7月9日。 专利摘要:本申请提供一种坩埚,包括基体和复合内衬,基体中具有加热腔,复合内衬设置于加热腔的内壁;复合内衬包括连接层、过渡层以及防护层,并沿远离加热腔内壁的方向依次设置。防护层靠近加热腔内部,硅锭生成过程中坩埚内层材质会产生消耗。防护层能够保护基体,减少基体损耗。连...
作者:小微 日期:2024年07月09日 55301 -
长虹美菱获得外观设计专利授权:“带模式调节图形用户界面的冰箱门体显示面板”
图片来源于网络,如有侵权,请联系删除证券之星消息,根据企查查数据显示长虹美菱(000521)新获得一项外观设计专利授权,专利名为“带模式调节图形用户界面的冰箱门体显示面板”,专利申请号为CN202330173147.0,授权日为2024年7月9日。 专利摘要:1.本外观设计产品的名称:带模式调节图形用户界面的冰箱门体显示面板。2.本外观设计产品的用途:用于运行程序、显示及人机交互。3.本外观设计产品的设计要点:在于屏幕中显示的图形用户界面内容。4.最能表明设计要点的图片或照...
作者:小微 日期:2024年07月09日 46234 -
石化油服获得实用新型专利授权:“一种用于石油钻井的报警装置”
图片来源于网络,如有侵权,请联系删除证券之星消息,根据企查查数据显示石化油服(600871)新获得一项实用新型专利授权,专利名为“一种用于石油钻井的报警装置”,专利申请号为CN202322878689.5,授权日为2024年7月9日。 专利摘要:本实用新型公开了一种用于石油钻井的报警装置,涉及石油技术领域,该解码电路包括:请求模块,用于获取用户的报警请求并根据报警请求生成相应的报警指令,以及,用于获取用户的终止请求并根据终止请求生成终止指令;主控模块,用于获取所述报警指令或...
作者:小微 日期:2024年07月09日 49446 -
宁德时代获得实用新型专利授权:“安装检测工装”
图片来源于网络,如有侵权,请联系删除证券之星消息,根据企查查数据显示宁德时代(300750)新获得一项实用新型专利授权,专利名为“安装检测工装”,专利申请号为CN202322798928.6,授权日为2024年7月9日。 专利摘要:本实用新型提出一种安装检测工装,可检测螺栓在安装面的装配状态,安装面可导电,安装检测工装包括支架、抵接件以及检测电路结构,支架设有至少一可导电的支撑部;抵接件设于支架,并与支架相互绝缘,抵接件的端部设有可导电的抵接部;检测电路结构具有第一导电端和...
作者:小微 日期:2024年07月09日 50244 -
光峰科技获得实用新型专利授权:“光学器件及投影光机”
图片来源于网络,如有侵权,请联系删除证券之星消息,根据企查查数据显示光峰科技(688007)新获得一项实用新型专利授权,专利名为“光学器件及投影光机”,专利申请号为CN202322778506.2,授权日为2024年7月9日。 专利摘要:本申请涉及一种光学器件及投影光机,光学器件用于将发光二极管光源发射的第一光线与激光光源发射的第二光线合光,光学器件包括彼此邻接的反射区域和透射区域,其中,反射区域为高于第二光线的功率阈值的高激光功率阈值区,反射区域用于对第一光线进行反射,透...
作者:小微 日期:2024年07月09日 48882 -
海尔智家获得外观设计专利授权:“带楼宇综合管理图形用户界面的显示屏幕面板”
图片来源于网络,如有侵权,请联系删除证券之星消息,根据企查查数据显示海尔智家(600690)新获得一项外观设计专利授权,专利名为“带楼宇综合管理图形用户界面的显示屏幕面板”,专利申请号为CN202330846488.X,授权日为2024年7月9日。 专利摘要:1.本外观设计产品的名称:带楼宇综合管理图形用户界面的显示屏幕面板。2.本外观设计产品的用途:本外观设计产品用于运行程序以及显示信息,该显示屏幕面板可用于手机、平板、电脑。3.本外观设计产品的设计要点:在于显示屏幕面板...
作者:小微 日期:2024年07月09日 48682
